- Кэшбэк бонусами с каждой покупки
- Персональные цены и скидки
- Быстрый заказ: сохраняем адреса получения
связаться с отделом гарантий
другое
|
Калькулятор мощности
Площадь комнаты:
м2 или
Длина: х Ширина: м.
для ввода очистите поле "площадь"
для ввода очистите поля "длины/ширины"
Выберите яркость:
Количество ламп:
(если имеется)
Выберите тип ламп:
Накаливания
Энергосбере-
гающая Светодиодная
LED Посчитать
Рекомендуемая суммарная мощность: W
Рекомендуемая мощность 1 лампы: W
|
Основные
Производитель
Производитель - бренд
Характеризует наименование того или иного бренда. От бренда, зачастую, зависит качество товара и его цена. Идентичный товар на фотографии разных брендов имеет разную стоимость из-за качества комплектующих материалов: плафонов, арматуры, проводов или трансформаторов.
Страна
Страна
Отражает страну - родину Бренда как такового. Сборка может осуществляться на территории другой страны, но под контролем качества производителя.
Тип товара
Светильник накладной заливающего света со встроенными светодиодами Артикул производителя
Артикул/модель производителя
Данная характеристика позволяет без труда найти данную модель в каталогах, а также в последующем запасные части к изделию.
214850 Гарантия
Гарантия на изделие
Если в течение данного срока изделие перестало выполнять требуемые функции, мы заменим его на аналогичное, при условии отсутствия конструктивных изменений.
12 месяцев Размеры
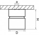
Диаметр, мм
Диаметр товара
Физическая величина, числовая характеристика - это отрезок, соединяющий две крайние точки товара и проходящий через центр товара, а также длина этого отрезка.
126 Высота максимальная, мм
129 Высота, мм
Высота товара
Физическая величина, числовая характеристика протяжённости линий. В узком смысле под высотой понимают линейный размер предмета в продольном направлении (обычно это направление наибольшего размера), то есть расстояние между его двумя наиболее удалёнными точками, измеряемая в вертикальном направлении.
135 Глубина монтажного отверстия, мм
57 Глубина, мм
57 Диаметр монтажного отверстия, мм
Монтажное отверстие
Данный размер указывает какое отверстие необходимо сделать для правильного монтажа. Зачастую светильники выбирают после ремонта и сделанных монтажных отверстий, тогда подбор осуществляется строго в размер +/- 2-5мм.
126 Размеры основания, мм
126 Размеры упаковки
295 Вес, кг
Вес товара
Носит справочный характер, может отличаться от заявленного и не является гарантирующей характеристикой!!!
1,419 Размер упаковки A
295 Размер упаковки B
285 Размер упаковки C
275 Электрика
Тип лампы
Используемый тип ламп
Отражает какие лампы по умолчанию используются в светильнике.
Важно отметить, что сегодня любую лампу можно заменить на энергосберегающую или светодиодную. Более подробная информация у наших консультантов.
Цветовая t, К
Цветовая температура свечения
Данный параметр характеризует цветовую температуру свечения в Кельвинах. Как правило, это 2700К - теплый (желтый), 4000-4200К - холодный (белый), 6000-6400К - дневной (голубоватый оттенок).
4 000 Количество ламп / диодов
Количество ламп в светильнике
От количества ламп и их мощности зависит уровень освещенности комнаты, в которой установлен светильник. Общепринятая норма освещения для ламп накаливания составляет около 15—20 Вт на квадратный метр. Энергосберегающие и светодиодные лампы способны отдавать больше света при меньшем потреблении энергии.
Люстры с большим количеством ламп позволяют более равномерно освещать помещение.
1 Тип цоколя
Тип цоколя лампы, которую можно установить в светильник
При выборе светильника стоит обратить внимание на цоколь лампочки. Иногда используются лампы с нестандартным цоколем, которые трудно найти в продаже.
Среди самых распространенных цоколей можно выделить два: E27 ("обычная" лампочка) и E14 (миньон). Их можно купить в любом хозяйственном магазине или отделе супермаркета.
LED MAX мощность ламп / диодов, Вт
Максимальная мощность лампочки
Максимальная потребляемая мощность лампы, которую можно использовать в люстре.
Практически для каждой люстры производитель указывает максимальную мощность лампочки. Это связано с тем, что при работе лампы выделяется значительное количество тепла. Если установить лампу большей мощности, то это может привести к деформации и порче люстры, разрушению патрона.
От количества ламп и их мощности зависит уровень освещенности комнаты, в которой установлен светильник. Общепринятая норма освещения для ламп накаливания составляет около 15—20 Вт на квадратный метр. Энергосберегающие и светодиодные лампы способны отдавать больше света при меньшем потреблении энергии.
40 Общая мощность, Вт
Общая мощность в Ваттах
Характеризует суммарную мощность всех источников освещения в данной модели. Данная характеристика позволяет понять несколько моментов:
1 - хватит ли сечения проводки для стабильной работы изделия:
2 - понять вписывается ли модель в минимальный порог освещения 15Вт/1м2 и в максимальный 25-30 Вт/м2 (в сравнении с лампами накаливания)
40 Индекс цветопередачи
Индекс цветопередачи
Индекс цветопередачи
80 Класс IP защиты
Тип защиты
IP 23 - для обычного использования
IP 44 - влагозащищенные
IP 66 - пыле и влагозащищенные
IP20 Световой поток, lm
Световой поток
Световой поток характеризует количество «световой» мощности в соответствующем потоке излучения. Измеряется в люменах - lm. Справочно 1 люкс = 1 люмен/м²
3 400 Питание
220 Вт Внешний вид
Цвет арматуры
Преобладающий цвет арматуры.
Цвет арматуры светильника подбирается под цвет фурнитуры вашего помещения. Под фурнитурой понимаются дверные ручки, карнизы и многие другие элементы.
Белый; Черный Оттенок (цвет)
Преобладающий цвет изделия
Фотография не всегда передает точный цвет или оттенок изделия. Данный цвет присущий товару в выключенном состоянии на белом фоне.
белый Поверхность арматуры
Поверхность арматуры
Данная характеристика описывает не видимые не вооруженным глазом поверхность. Как правило, это может быть матовая (не видны отпечатки), глянцевая (требует частого ухода) или бархатистая (требует особого ухода) поверхности.
матовая Декор
Декор
Декоративные элементы светильника
плафон Цвет плафона / абажура
Белый; Черный Поверхность плафона
матовая Угол поворота/рассеивания, градусы
Угол поворота или рассеивания в градусах
Данное значение указывает угол поворота, на который может поворачиваться светильник или угол рассеивания, на который светит лампа
Угол поворота по вертикали, ° 90 Угол рассеивания рефлектора, ° 30 Серия
Серия - коллекция
Если товару присуще определенное значение серии, то легко найти для него пару - дополняющий элемент коллекции.
Стиль модели
Хай-тек Дополнительные характеристики
Крепление
Тип крепления светильника к поверхности
Основной тип крепления данной модели, который нужно заранее знать, чтобы при монтаже новой поверхности установки изделия или при замене в существующей не оставались не скрываемые зазоры и сохранялся эстетический вид.
На основание Материал
Материалы
Описывает используемые при производстве модели материалы
Металл Материал плафона
Материал плафона
Описывает из чего физически состоит плафон, который не всегда удается разглядеть на изображении.
Металл Место применения
Рекомендуемое место применения
Данная опция носит рекомендательный характер, поэтому Вы можете эксплуатировать данный артикул в любом другом подходящем помещении, соблюдая меры электробезопасности!
Жилая; Общественная Дополнительно
Дополнительные сведения
Специфические характеристики товара или условия приобретения и использования.
214850 Светильник FORTE MURO LED 40W 3400LM 30G БЕЛЫЙ 4000K Комментарий
Комментарий
Отражает особенности покупки, доставки или использования данной модели.
Действующий каталог 2021 года. Стилевые решения интерьера
хай тек, современный Технические особенности
Накладной Срок службы
20 000 Штрих-код
Штриховой код
Графическая информация, наносимая на поверхность, маркировку или упаковку изделий, представляющая возможность считывания её техническими средствами — последовательность чёрных и белых полос либо других
4620754515061 Скидка, %
Скидка на товар
Предложения по скидке ограничены по времени и количеству товара!!! Уже сегодня цена может поменяться, поэтому рекомендуем торопиться с выбором.
3 Отзывы Светильник накладной светодиодный Lightstar 214850 Forte Muro
Пока нет отзывов об этом товаре, напишите и он обязательно появится после модерации! Оставить свой отзыв
Похожие товары Другие товары магазина Фото
Крепление: 3x70; Внешние габариты: D126 H129; Материал - основание/плафон: металл; Цвет-основание/плафон: белый; Лампа: LED 40W= 400W Световой поток: 3400LM; 4000К ; Угол рассеивания: 30G; Встроенный трансформатор
Lightstar
Осветительные приборы от итальянской фирмы Lightstar — роскошное дополнение интерьера. Чтобы купить Светильники Lightstar в Москве, посетите виртуальный магазин «СветоДом». Бренд Лайтстар начал свою работу в 2001 году. В приоритете высокое качество на всех этапах создания – разработки, производства и украшения. Ассортимент обширный и постоянно дополняется новыми вариантами. Откройте каталог светильников Лайтстар, где можно встретить торшеры, бра, настольные лампы, люстры и многое другое. |
VIP клиента!
статус VIP клиента и успешно зарегистрировались на
сайте www.svetodom.ru
| Информация | Клиентам |
Новости
|





Светильники
Купить в 1 клик













































